 |
| |
 |
 |
|
|
 |
 |
|
Double-acting cylinder actuators for either pneumatic or hydraulic supply provide powered operation for all valve sizes.
cylinders provide long life, even under severe operating conditions. ATFE piston guide ring and a corrosion resistant piston rod bearing in the cylinder head assure smooth stroking. The complete range of actuator sizes shown on the right assures the right operating Characteristics at the lowest cost for every application. |
| |
 |
|
 |
Actuator Type : Double-Acting cylinder for pneumatic or hydraulic supply Spring return cylinder |
 |
Supply Pressure : 40 to 100psi |
|
| |
 |
|
 |
WAY SOLENOID VALVE & LIMLT SWITCH |
| |
For use with all on-off cylinder actuators. Standard solenoids for 110 volt, 60hertz, single phase a.c.power. Specify other requirments.
Limit switches to indicate valve position fully open and fully closed.
ENCLOSURE : NEMA4 (watetight type) / NEMA7 (explosion proof type) |
 |
AIRSET |
| |
Combination lubricator, fillter and regulator for all pneumatic actuators. |
 |
SPEED CONTROL VALVES & BY-PASS VALVES |
| |
To control valve opening or closing speed of pneumatic actuators.
Adjustable. To order, specify below valve and actuator identification. |
|
| |
 |
|
| Cylinders for pneumatic and hydraulic for knife gate valve with line differential pressures of 40 PSIG through 100 PSIG “M”indicated matal-seated valve“R”indicates resilient-seatd valve. |
|
|
|
 |
| |
 |
|
 |
| DESCRIPTION |
MAT'L |
| 1 |
|
|
| 2 |
|
|
| 3 |
|
|
| 4 |
|
|
| 5 |
|
|
| 6 |
|
|
| 7 |
|
|
| 8 |
|
|
| 9 |
|
|
| 10 |
|
|
|
|
|
 |
 |
|
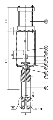
| SIZE |
L |
H1 |
H2 |
A |
B |
T |
øC |
N-H |
| 2 |
50A |
48 |
245 |
176 |
80 |
18 |
15 |
120 |
4-M16 |
| 2 ½ |
65A |
51 |
251 |
195 |
80 |
18 |
15 |
140 |
4-M16 |
| 3 |
80A |
51 |
390 |
218 |
80 |
18 |
15 |
150 |
8-M16 |
| 4 |
100A |
51 |
420 |
248 |
80 |
22 |
15 |
175 |
8-M16 |
| 5 |
125A |
57 |
480 |
255 |
80 |
26 |
15 |
210 |
8-M20 |
| 6 |
150A |
57 |
510 |
282 |
80 |
30 |
15 |
240 |
8-M20 |
| 8 |
200A |
70 |
635 |
332 |
92 |
30 |
20 |
290 |
12-M20 |
| 10 |
250A |
70 |
780 |
391 |
125 |
36 |
20 |
355 |
12-M22 |
| 12 |
300A |
70 |
890 |
446 |
140 |
40 |
25 |
400 |
12-M22 |
| 14 |
350A |
76 |
1055 |
496 |
140 |
45 |
25 |
445 |
16-M22 |
| 16 |
400A |
76 |
1128 |
566 |
140 |
60 |
30 |
510 |
16-M22 |
| 18 |
450A |
76 |
1322 |
616 |
150 |
60 |
30 |
565 |
16-M24 |
| 20 |
500A |
114 |
1409 |
671 |
150 |
70 |
35 |
620 |
20-M24 |
| 24 |
600A |
114 |
1610 |
785 |
150 |
85 |
40 |
730 |
24-M30 |
|
|
 |
 |
 |
|
|
 |
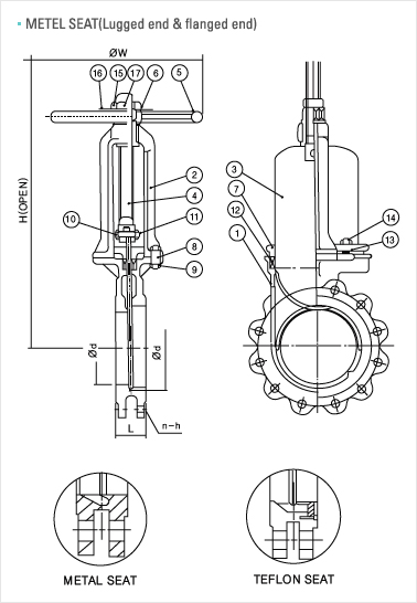
LESS TORQUE HANDLING OPERATION |
 |
DURABLE INTERNAL THREAD |
 |
LEAKAGE-PROOF GLAND |
 |
TWO PAWLS FOR TIGHT SEAL |
|
| |
SHELL |
SEAT |
| HYDRO PRESS |
7㎏/㎠ |
3㎏/㎠ |
| TEST DURATION |
60SECOND |
60SECOND |
| ALLOWABLE LEAKAGE |
NONE |
40cc/inch/min |
|
|
|
 |
 |
|
 |
| Material |
|
| NO. |
Parts Name |
Material |
| 1 |
|
|
| 2 |
|
|
| 3 |
|
|
| 4 |
|
|
| 5 |
|
|
| 6 |
|
|
| 7 |
|
|
| 8 |
|
|
| 9 |
|
|
| 10 |
|
|
| 11 |
|
|
| 12 |
|
|
| 13 |
|
|
| 14 |
|
|
| 15 |
|
|
| 16 |
|
|
| 17 |
|
|
| 18 |
|
|
| 19 |
|
| Rubber (NBR, VITON, HYCAR) |
|
| 20 |
|
|
|
|
|
|
|
 |
VALVE
SIZE |
|
| FACE TO FACE |
| inch |
Ø "d" |
mm |
|
| NOMINAL BORE |
| inch |
Ø "d" |
mm |
|
|
|
|
| 2" |
|
|
|
|
|
|
| 3" |
|
|
|
|
|
|
| 4" |
|
|
|
|
|
|
| 6" |
|
|
|
|
|
|
| 8" |
|
|
|
|
|
|
| 10" |
|
|
|
|
|
|
| 12" |
|
|
|
|
|
|
| 14" |
|
|
|
|
|
|
| 16" |
|
|
|
|
|
|
| 18" |
|
|
|
|
|
|
| 20" |
|
|
|
|
|
|
| 24" |
|
|
|
|
|
|
|
|
 |